大牌抖音网红明星同款好货超高级服饰
用原品牌十分之一的价格买来自己喜欢的款式,小年轻为什么不呢? 那么价格差那么多,质量会不会崩呢?答案是看布料,手工。本屌丝家里自家老厂十几年,各大服装品牌没少借鉴过,从设计到做工,成品和品牌基本没有差别,除了牌子,基本原料和做工都差不多,服装制造业不存在不可跨越的壁垒。一般连衣裙之类的品牌货X出来的成本就原价的6分一左右,做工好的可能上浮几块。 正因为市场需求大,不愁销路,高X1:1大牌男装批发哪里进货?无论什么货只要质量好,价格优惠,感觉都是一样的,像我们自己做服装的,除非找版型,否则是不会买品牌,知道成本都不会有剁手的欲望。当然如果你是品牌的死忠粉就当我没说吧!!
精X工厂男装厂家微信:MBFK5111
现免费诚招全国代理,新代理可免费培训,利润高月过万不是梦!无任何门槛,所有产品可一件代发,
绝对1:1质量 经过专业仪器检测,无需押金,售后无忧,有兴趣或者想了解的朋友可以加客服微信,真诚与你合作!
代工厂出品货源 完美售后为您保驾护航 拒绝一切低端货
高质量!高质量!!我们只做高端,专注品质!!人靠衣装马靠鞍,随着生活水平的日益提高,人们对衣着的要求也越来越高,我们这里有最优质的服装,一分钱一分货,货真价实才是硬道理。
未来的iPhone和手机iPad可能会有新的技术来隐藏外壳的天线缝隙。iPhone和iPad的设计问题之一是生产出能够有效处理电磁波的版本,即移动设备内部的天线所产生和接收的信号。让天线能够发挥其作用,意味着要么使用材料的方式来防止信号的阻挡,要么通过外壳与外界有一定的开口。
设计容纳天线是很困难的,以iPad为例,外壳的后部是一块金属,既不能提供通过孔或缝隙的通道,也不能在使用材料上尽量减少对天线信号的影响。解决这个问题的一个方法是使用两部分外壳,在天线周围引入一个间隙,让信号通过。然而这样的概念可能会带来其他设计问题,例如消除了单一无缝外壳的外观,削弱了整体结构。苹果iPad设计的演变就是一个例子。根据不同的变体,背壳可以由单一的材料制成,而2020年iPad的插卡型号在顶部有一个明显不同的部分。
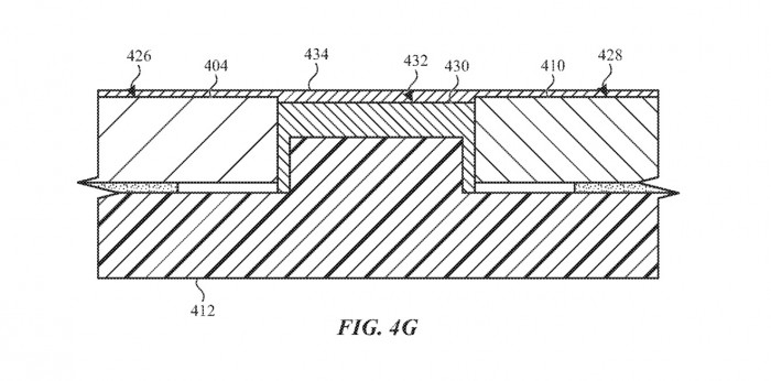
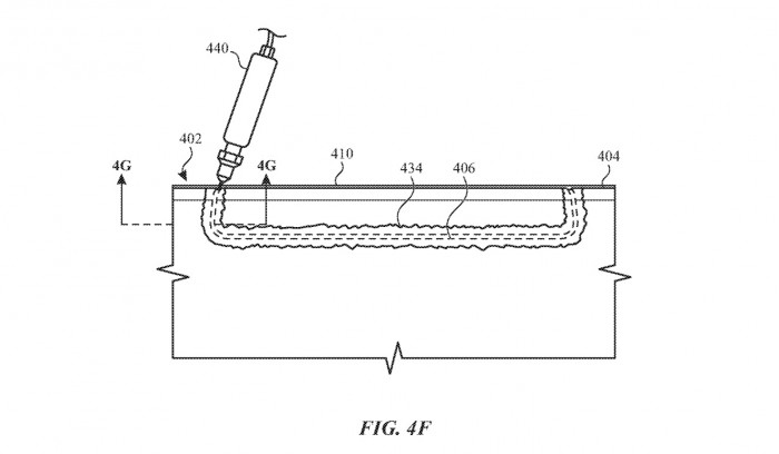
在美国专利和商标局周二授予苹果的一项名为 "具有连续填充表面的多部件电子设备外壳 "的专利中,苹果提出它可以创造一种外壳,提供两部分外壳的电磁优势,但生产方式使其看起来像一个单一的部分。苹果的外壳理念涉及三个要素,即主外壳的大部分有一个需要填充的空隙部分,第二个外壳部分来填充该部分。简而言之,苹果建议可以在连接点处沉积一层油墨,将其完全遮盖住。
虽然主外壳可以继续用金属制成,但第二部分可以是不妨碍电磁波的非导电部件,如致密塑料。第二外壳部分有可能由多层制成,包括为外观或结构目的而选择的外层。另一种变化是有一个额外的插入物,可以装在主外壳和第二外壳部件之间。在两个元件之间的内侧耦合,该插件可以保持间隙的存在,同时将两个部分保持在一起,并且可以用一种更允许无线电传输的材料制成。
不管是哪种结构,苹果都建议使用两层油墨覆盖接头。使用两层油墨是为了确保覆盖层能完全隐藏接缝。第一层油墨是为了填充和均匀两个组件之间的接缝,作为填充层。一旦应用和固化,并从外壳上去除不需要的部分以使一切平坦,则沉积第二层油墨以隐藏接缝本身。苹果公司每周都会提交大量的专利申请,但虽然专利申请的存在表明了苹果公司研发工作感兴趣的领域,但并不能保证该想法会出现在未来的产品或服务中。

关键词: